咨询热线
18137825866
首页
关于我们
新闻资讯
产品中心
工程案例
在线留言
联系我们
您的位置:
首页
>
产品中心
>
滤波器系列
无源滤波器/谐波滤波器
发表时间:2021-07-08 12:12:15 | 点击率:
0
1.与传统无源滤波器相比,
CLWL
系列产品体积更小,谐波抑制能力更强。
2.当连接在变频器前端,经谐波滤波器滤波后总谐波电流小于满负载时基波电流的10%。
3.效率大于98%,功率可到250KW,无源谐波滤波器提供了具有高性价比和稳定
可靠的谐波解决方案。
4.
该系列滤波器与品牌变频器做过精心匹配,适合多种电机控制方式,确保系统
稳定工作,不会对电网产生任何不良影响。
技术参数
1. 额定工作电压:AC380V~480V
2. 频率:50Hz
3. 过载能力:1.6倍,60s
4. 绝级等级:过压类别III符合EN61800-5-1
5. 满载效率:大于98%
6.冷却方式:AN
7.谐波滤波效果:满载条件下,滤波器输入端的总谐波
电流畸变率
THID﹤10%(背景电压THUD﹤2%,电网短
路功率与安装负载比﹥
66)
8.环境温度(工作):满载条件下,-25℃~+50℃
9.存储温度:-25℃~65℃
10.工作海拔高度:海拔0~2000米
11.相对湿度:0~95%无凝露
1
2
.产品执行标准:IEEE519 GB/T 14549-1993
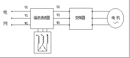
接线原
理
图与示意图
上一篇:
APF滤波器
没有了
在线咨询
电话
18137825866
微信扫一扫
返回顶部
友情链接